- Elektrotechnik
- Forschung
- Labore
- Erneuerbare Energien Projekte
- Holzgehäuse - Bewässerung von Pflanzen, Bäumen
Smart City Augsburg - intelligente Bewässerung von Pflanzen oder Bäumen
Attraktives Design

Studiengang
ET - auslaufendProjektbeschreibung
Ziel dieses Projekts ist es eine Bewässerungslösung für Bäume im städtischen Bereich zu entwickeln.
Mit dieser Lösung sollen Bäume gegen häufige Trockenperioden im Sommer geschützt werden.
Die Stadtwerke Augsburg sucht eine Möglichkeit das Absterben der Bäume in der Augsburger
Innenstadt zu verhindern. Der Anspruch liegt auf einem autarken System. Dieser muss unabhängig
vom Stromnetz und einem Wasseranschluss zuverlässig funktionieren.
Zusätzlich sollen wichtige Informationen an die Stadtwerke Augsburg über Funk übertragen werden.
Somit soll die Bewässerung effizienter vonstattengehen als es die momentane Lösung erlaubt.
Beteiligte Personen
VeranstaltungSystems Engineering 1 (IK) LaufzeitWS 2021/22 | |||||
Anforderungen
Das System
Muss Anforderungen
- muss einen Baum bewässern.
- muss erkennen, dass bewässert werden muss.
- muss zuverlässig bewässern.
- muss den Füllzustand des Wassertanks erkennen.
- muss in den Monaten April bis Oktober dauerhaft funktionieren.
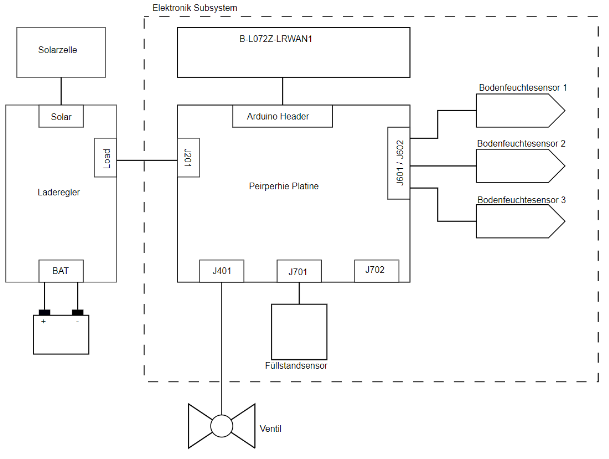
- muss über LoRaWAN an die SWA folgende Parameter senden
- Temperatur,
- Standort und
- die Information, dass der Wassertank wieder befüllt werden muss
- muss über ein PhotoVoltaik-Modul und eine dazugehörige Batterie funktionieren
- muss einen Wassertank zur Wasserversorgung besitzen.
- muss unbeaufsichtigt im Betrieb laufen.
- muss mit einer seriellen Schnittstelle parametrierbar sein.
Kann Anforderungen
- soll eine ansprechende Verkleidung besitzen.



